熱線:021-66110810,66110819
手機:13564362870

熱線:021-66110810,66110819
手機:13564362870
近視的發生與發展的一個重要因素是長時間近距離用眼,導致眼部睫狀肌持續緊張,進而引發眼軸拉長?,F有近視控制產品所使用的技術有遠像光屏技術、模擬自然光照技術和電子脈沖穴位技術等。
遠像光屏技術通過調節圖像的虛擬視距,可以讓用戶在近距離時看到虛擬的遠距離圖像,從而放松睫狀肌,減輕眼部的調節負擔。
模擬自然光照技術:研究表明自然光對近視防控有益處,已經在智能照明系統和護眼臺燈中得到初步應用,如調節LED燈的色溫和亮度。
電子脈沖穴位技術:通過對眼周特定穴位的刺激,達到緩解眼部疲勞和改善視力的效果?,F代科技通過微電刺激和振動按摩等手段,實現了對電子脈沖穴位的模擬應用。電子脈沖穴位技術已應用在眼部按摩儀和保健設備中,如電子眼保健儀、眼部按摩儀等。這些設備通常通過微振動和電刺激對眼周穴位進行刺激,使用方便且無副作用。
以上現有技術需要多種設備進行實現,且難以做到同一時間段內共同應用,增加了使用者的使用時間,限制了近視控制效果的進一步提升。
發明內容
本申請的目的是提供一種用于近視防控的頭戴式綜合化智能系統,可減少用戶防控使用時間,并提升近視控制效果。
為實現上述目的,本申請提供了如下方案:
本申請提供了一種用于近視防控的頭戴式綜合化智能系統,包括:頭戴式支架、遠像光屏成像模塊、模擬自然光照模塊、電子脈沖穴位模塊、傳感模塊和控制模塊。
遠像光屏成像模塊、模擬自然光照模塊、電子脈沖穴位模塊、傳感模塊和控制模塊均固定在頭戴式支架上;頭戴式支架用于佩戴在用戶頭部,并在佩戴時使遠像光屏成像模塊對準用戶的眼部,模擬自然光照模塊和電子脈沖穴位模塊位于用戶眼周的對應位置上。
傳感模塊用于實時檢測環境光線強度、用戶的眼部位置、用戶的頭部姿勢和電子脈沖穴位模塊的微電極位置;所述控制模塊用于根據實時檢測的環境光線強度、用戶的眼部位置和用戶的頭部姿勢,調整遠像光屏成像模塊中形成的虛擬圖像質量,使遠像光屏成像模塊生成清晰的虛擬圖像;所述遠像光屏成像模塊用于將清晰的虛擬圖像投射至用戶的眼部;所述控制模塊還用于控制模擬自然光照模塊將模擬的自然光投射至用戶的眼部;所述控制模塊還用于根據實時檢測的用戶的眼部位置和/或電子脈沖穴位模塊的微電極位置,調整電子脈沖穴位模塊的微電極刺激位置,并通過電子脈沖穴位模塊刺激用戶的眼周穴位。
第二控制電路板
功能:接收控制系統的指令,控制電動驅動系統的運作,并處理來自位置傳感器的數據。
組成:第二微處理器、信號放大器和第二接口模塊。
位置關系:第二控制電路板安裝在電子脈沖穴位模塊2的內部,通過電纜與電動驅動系統和位置傳感器連接。
位置傳感器通過第二接口模塊與信號放大器連接;第二微處理器分別與信號放大器和電驅動系統連接。信號放大器用于對位置傳感器實時檢測的用戶的眼部位置和微電極位置進行信號放大后,均傳輸至第二微處理器。第二微處理器用于比較信號放大后的用戶的眼部位置和微電極位置,若微電極位置與用戶的眼部位置的偏差小于預設閾值,則控制電驅動系統調整微電極刺激位置;若微電極刺激位置與用戶的眼部位置的偏差大于等于預設閾值,則控制電動驅動系統停止,發出警報或錯誤提示。
第二微處理器的具體處理過程和處理結果如下:
數據采集:
每個位置傳感器(光學)持續采集數據,并將這些數據通過接口模塊傳輸到控制電路板。
數據包括微電極的當前位置、用戶眼部的具體位置及其相對位置關系。
數據預處理:
信號放大器對傳感器信號進行放大和濾波,消除噪聲和干擾。
微處理器接收預處理后的數據,將其轉換成數字信號,便于進一步處理。
數據分析與位置計算:
微處理器運行定位算法,計算微電極和用戶眼部的三維空間坐標。
建立實時的坐標系,確定微電極與目標穴位之間的距離和角度關系。
決策與控制信號生成:
根據預定的電子脈沖路徑和位置精度要求,微處理器對比當前微電極位置與目標位置,計算需要的調整量。
根據具體情況生成不同的控制信號,這些信號包括微電極的進出運動指令、力度調整指令等。
反饋與安全監控:
實時監控系統狀態,尤其是微電極位置和用戶眼部位置的變化。
若檢測到異常情況(如微電極偏離預定軌跡或用戶眼部位置突變),微處理器立即生成報警信號或停機指令。
微電極位置偏離目標位置:
處理結果:微電極當前位置與目標穴位位置有偏差。
控制措施:調整電動驅動系統,控制微電機和驅動桿移動,使微電極回歸到正確的軌跡上。具體操作包括驅動桿的伸縮和齒輪系統的旋轉。
微電極達到目標位置:
處理結果:微電極已經到達目標穴位位置。
控制措施:保持微電極位置穩定,并根據預設程序逐步進行電子脈沖操作,如逐漸增加或減小力度,進行微小的進出運動以達到最佳刺激效果。
用戶眼部位置變化:
處理結果:用戶眼部位置發生了變化,可能導致微電極與目標穴位的相對位置不準確。
控制措施:立即調整微電極位置以重新對準目標穴位,確保電子脈沖操作的安全和有效性。如果變化過大,系統可能暫停操作并發出警報,提示用戶重新定位。
異常情況檢測:
處理結果:檢測到異常情況,如微電極過度偏離、傳感器數據異常等。
控制措施:立即停止電動驅動系統,微電極停止運動,發出警報或錯誤提示。系統進入安全模式,等待用戶或技術人員介入處理。
力度調整需求:
處理結果:需要調整電子脈沖力度以達到最佳治療效果。
控制措施:控制電動驅動系統調節微電極的進出深度和力度。通過微電機的精細控制,實現微電極的微小進出或震動,以提供適當的刺激。
(6)傳感模塊
基于以上內容,傳感模塊包括位置傳感器和傳感器系統。
功能:用于檢測用戶眼部位置、環境光線,提供實時反饋。
連接關系:與頭戴式支架1模塊連接,傳感器通過數據線或無線方式與控制模塊連接,將檢測數據傳輸到控制模塊。
1.位置傳感器
功能:用于實時檢測電子脈沖裝置的位置及用戶眼部的具體位置,確保電子脈沖精確。
組成:光學傳感器或超聲波傳感器。
位置關系:位置傳感器安裝在微電極固定座的周圍,能夠覆蓋整個電子脈沖范圍。
光學傳感器檢測原理為光學傳感器通過光的反射、折射或遮擋來檢測物體的位置。具體過程如下:
光學傳感器布置:
光學傳感器安裝在微電極固定座的周圍,形成一個覆蓋整個電子脈沖范圍的檢測網絡。
傳感器發射光束(如激光、紅外光等)并接收反射光或通過光的遮擋來判斷物體的位置。
眼部位置檢測:
光學傳感器發射光束,光束照射到用戶眼部并反射回來,通過接收反射光的時間差、強度或角度變化,計算出用戶眼部的位置。
傳感器可能會進行多點掃描,形成一個三維模型,精確定位用戶眼部的各個區域。
微電極位置檢測:
類似地,光學傳感器可以通過檢測微電極位置的反射光來確定微電極的三維空間位置。
傳感器會實時監控微電極的運動軌跡,確保其位置與眼部特定穴位的距離和角度符合預定的刺激要求。
數據處理與反饋:
收集到的位置數據通過信號傳輸傳遞給控制電路板。
微處理器處理這些數據,生成實時的位置信息,并調整微電極的運動軌跡和刺激力度。
2.傳感器系統
傳感器系統,如視覺傳感器、紅外傳感器、頭部姿態傳感器等,實時監測用戶的頭部和眼部位置,確保電子脈沖裝置的精確定位。
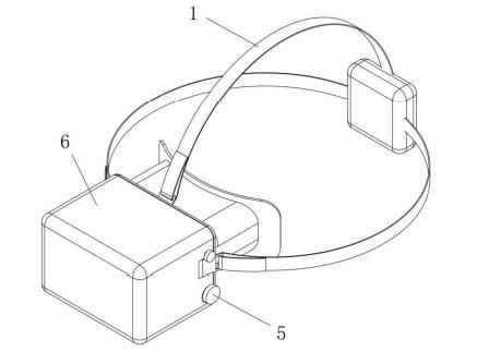
(7)鏡頭蓋6
在一個示例中,本申請的用于近視防控的頭戴式綜合化智能系統還包括:鏡頭蓋6。顯示屏3與鏡頭蓋6內壁固定在連接。在顯示屏3的周圍還設置有一圈LED燈帶7,LED燈帶7同樣固定在鏡頭蓋6的內壁上。鏡頭蓋6能將調焦裝置5罩在其內。鏡頭蓋6上設置有插槽或卡扣,能夠可拆卸地連接頭戴式支架1。
(8)交互界面
在一個示例中,本申請的用于近視防控的頭戴式綜合化智能系統還包括:交互界面。交互界面與控制模塊連接。交互界面用于接收用戶輸入的指令,并傳輸至控制模塊。
交互界面的功能:提供用戶與設備的交互界面,包括控制參數的輸入和各模塊狀態的實時反饋。連接關系:通過數據線或無線方式與控制模塊連接,用戶通過界面輸入指令,控制模塊根據指令進行相應的調整。
綜上,本申請的關鍵技術有:
1、遠像光屏成像模塊的設計與實現:包括光學透鏡組4、圖像處理器,以及如何實現圖像遠近視角的調整。
2、模擬自然光照模塊的設計與實現:包括光源、光強度及色溫調節機制,如何
根據本申請提供的具體實施例,本申請具有了以下技術效果:
本申請提供了一種用于近視防控的頭戴式綜合化智能系統,將遠像光屏成像模塊、模擬自然光照模塊和電子脈沖穴位模塊整合在同一裝置中,在同一時間段內可同時使用遠像光屏成像模塊、模擬自然光照模塊和電子脈沖穴位模塊,減少了用戶的使用時間;由于綜合應用了多種近視防控手段,為用戶能夠提供全方位的視力保護,提升了近視控制效果。
相關新聞